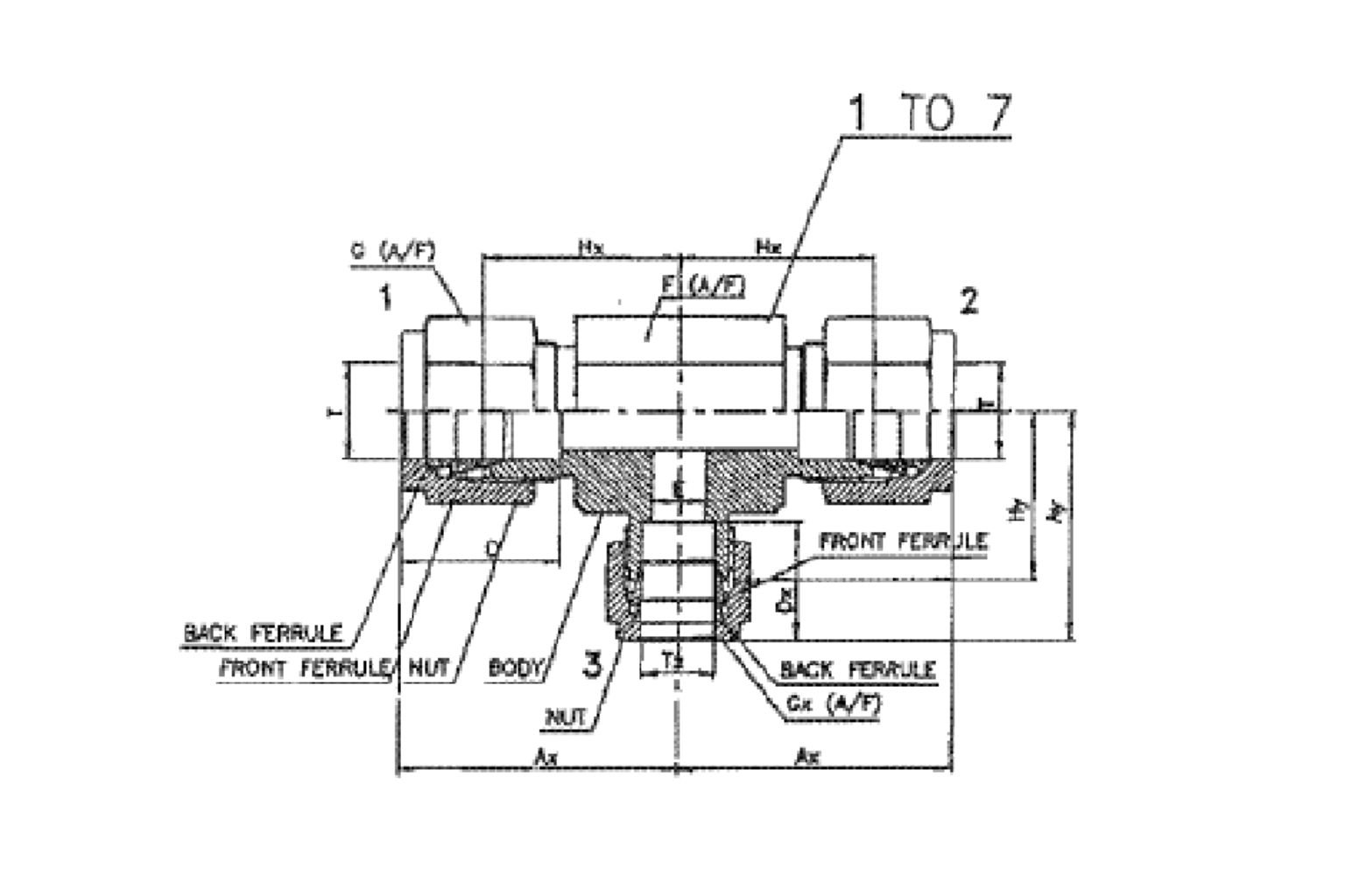
| Sl.No. | Part No. | T Tube OD | Tx Tube OD | Ax | Ay | D | Dx | Ø E | F A/F | G A/F | Gx A/F | Hx | Hy |
|---|---|---|---|---|---|---|---|---|---|---|---|---|---|
| 1 | 28mTTRT16 | 28mm | 1" | 64.0 | 52.2 | 36.6 | 31.2 | 21.8 | 41 | 46 | 38 | 43.4 | 40.0 |
| 2 | 28mTTRT12 | 28mm | 3/4" | 64.0 | 51.8 | 36.6 | 24.4 | 15.8 | 41 | 46 | 32 | 43.4 | 41.6 |
| 3 | 12TTRT8 | 3/4" | 1/2" | 39.9 | 39.9 | 24.4 | 22.9 | 10.4 | 27 | 32 | 22 | 29.7 | 29.7 |
| 4 | 16TTRT12 | 1" | 3/4" | 49 | 44.7 | 31.2 | 24.4 | 15.8 | 36 | 38 | 32 | 36.8 | 34.5 |
| 5 | 24TTRT12 | 1-1/2" | 3/4" | 78.7 | 54 | 50 | 24.4 | 15.8 | 55 | 57 | 32 | 51.6 | 45 |
| 6 | 28mTTRT8 | 28mm | 1/2" | 64.0 | 48.2 | 36.6 | 22.9 | 10.4 | 41 | 46 | 22 | 43.4 | 38 |
| 7 | 16TTRT8 | 1" | 1/2" | 49 | 44.7 | 31.2 | 22.9 | 10.4 | 36 | 38 | 22 | 36.8 | 34.5 |