

| Part No. | Part Description | Material | Quantity |
|---|---|---|---|
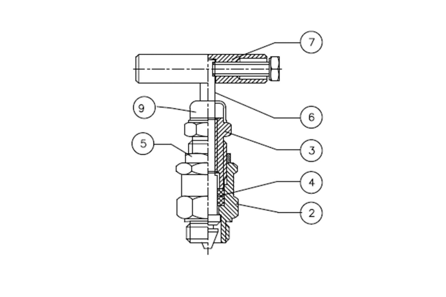
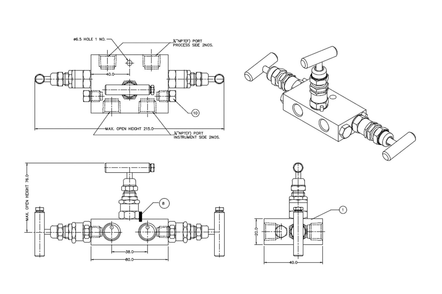
| 1 | Body | SS 316 | 1 |
| 2 | Gland Body | SS 316 | 3 |
| 3 | Gland Retainer | SS 304 | 3 |
| 4 | Gland Seal | P.T.F.E. | 6 |
| 5 | Check Nut | SS 304 | 3 |
| 6 | Spindle | SS 316 | 3 |
| 7 | Handle | SS 304 | 3 |
| 8 | Lock Pin | SS 304 | 3 |
| 9 | Dust Cap | P.V.C. | 3 |
| 10 | Drain Plug 1/8"NPT(M) | SS 316 | 2 |