Gauge Valve : E 3WNV

Gauge Valve _ E 3WNV (2)
Sl.No.Model No.InletOutletL "mm"L1 "mm"L2 "mm"A "mm"C "mm"H "mm"
1E 3WNV-41/4"NPT(M)1/4"NPT(F)78.0032.0030.0028.0014.0087.00
2E 3WNV-63/8"NPT(M)3/8"NPT(F)78.0032.0030.0032.0014.0087.00
3E 3WNV-81/2"NPT(M)1/2"NPT(F)88.0044.0031.0032.0019.0089.00
4E 3WNV-123/4"NPT(M)3/4"NPT(F)88.0044.0031.0040.0019.0093.00
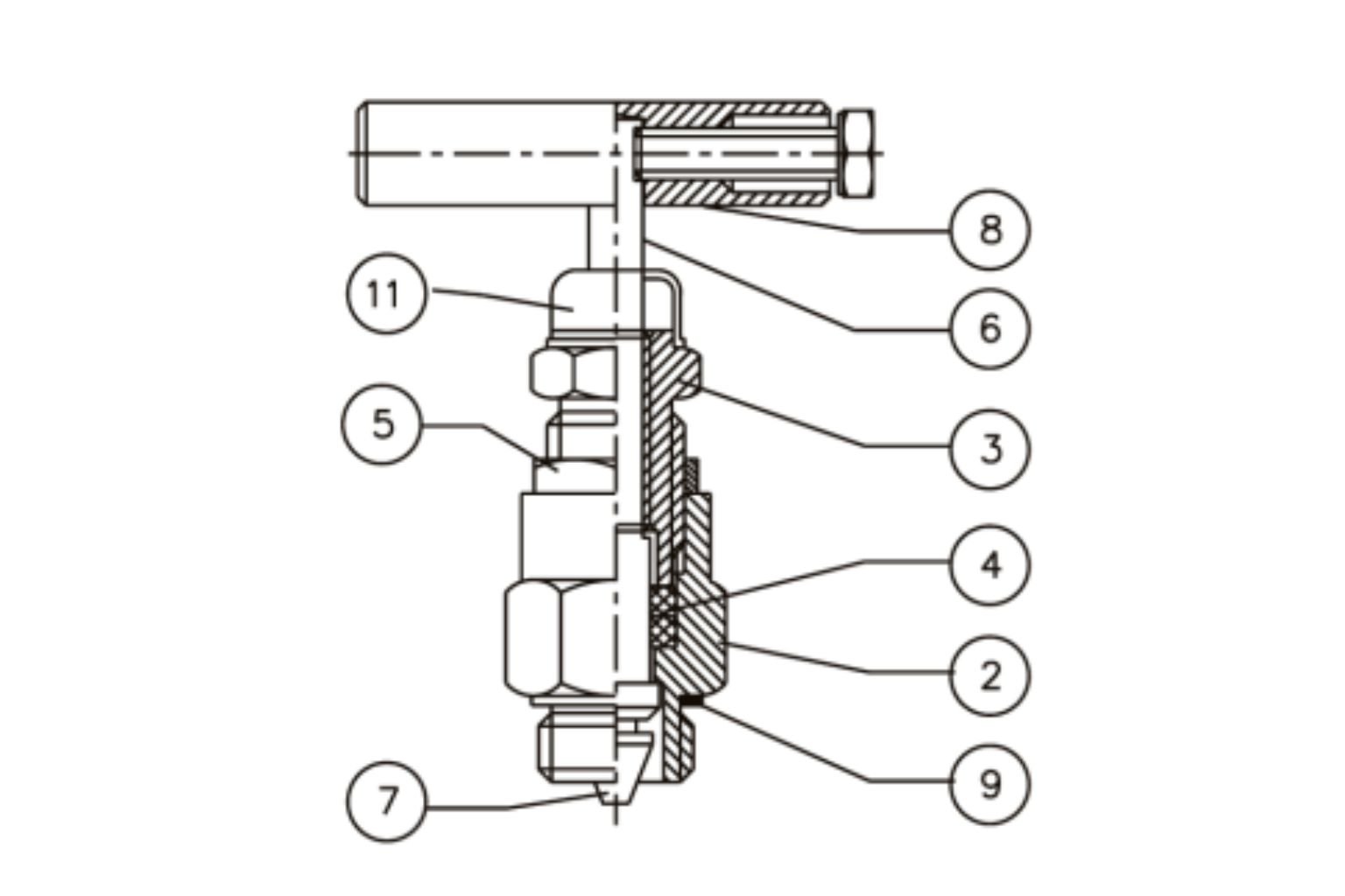
Part No.Part DescriptionMaterialQty
1BodySS 3161
2Gland BodySS 3161
3Gland RetainerSS 3041
4Gland SealP.T.F.E.2
5Check NutSS 3041
6SpindleSS 3161
7TrimSS 3161
8HandleSS 3041
9WasherS.S.1
10Lock PinSS 3041
11Dust CapP.V.C.1
12Drain Plug 1/4" NPT (M)SS 3161
Note : Fittings are designed to allow for combinations of different tube ends and thread connections. This flexibility is crucial for connecting various components in a piping system.
Gauge Valve _ E 3WNV